Оригинальные каталоги
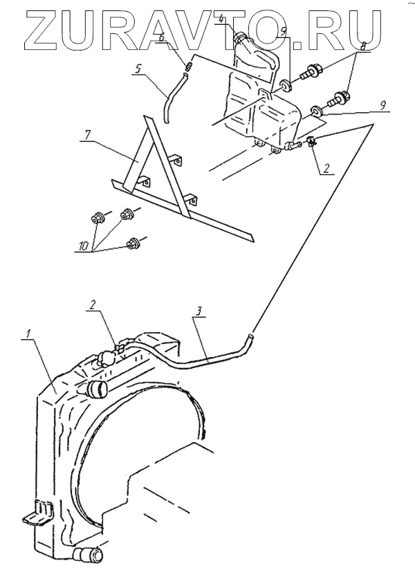
| № | Номер | Наименование | Цена | |
|---|---|---|---|---|
| 1 | 8973543480 | Радиатор жидкостный и радиатор воздушный в сборе | Нет в продаже |
|
| 2 | 8942386100 | Хомут | Нет в продаже |
|
| 3 | 8972184460 | Трубка | Нет в продаже |
|
| 4 | 8972108440 | Расширительный бачок | Нет в продаже |
|
| 5 | ТRЕ-8/6, L=500мм | Трубопровод ТRЕ-8/6, L=500мм | Нет в продаже |
|
| 6 | А091-1311141 | Ниппель | Нет в продаже |
|
| 7 | А091-1311008 | Кронштейн расширительного бачка | Нет в продаже |
|
| 8 | 286806200 | Болт | Нет в продаже |
|
| 9 | 9091607060 | Шайба | Нет в продаже |
|
| 10 | 911501060 | Гайка | Нет в продаже |
|
1
2
2
3
4
5
6
7
8
9
9
10
Содержащиеся в справочниках-каталогах запасные части и детали носят исключительно информационный характер