Оригинальные каталоги
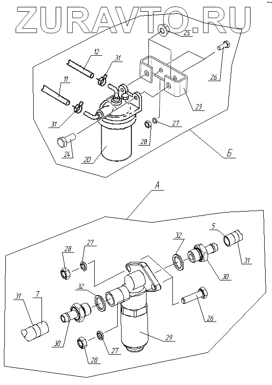
| № | Номер | Наименование | Цена | |
|---|---|---|---|---|
| 5 | 12098400 | Шланг | Нет в продаже |
|
| 6 | 8942385680 | Хомут | Нет в продаже |
|
| 11 | А092-1101111 | Шланг | Нет в продаже |
|
| 12 | А092-1101111-02 | Шланг | Нет в продаже |
|
| 20 | 8971880420 | Фильтр-отстойник | Нет в продаже |
|
| 23 | А092-1101250 | Кронштейн | Нет в продаже |
|
| 24 | 280810300 | Болт | Нет в продаже |
|
| 25 | 911502100 | Гайка | Нет в продаже |
|
| 26 | М8-6gх30.58.019 | Болт М8-6gх30.58.019 ГОСТ 7798-70 | Нет в продаже |
|
| 27 | 8.65Г.019 | Шайба 8.65Г.019 ГОСТ 6402-70 | Нет в продаже |
|
| 28 | М8-6Н.5.019 | Гайка М8-6Н.5.019 ГОСТ 5915-70 | Нет в продаже |
|
| 29 | ЭКТ-24 ТУ37.306383-80 | Клапан электромагнитный | Нет в продаже |
|
| 30 | А091-1116034 | Штуцер | Нет в продаже |
|
| 31 | d12-22 мм | Хомут d12-22 мм | Нет в продаже |
|
| 32 | А091-1116060 | Прокладка | Нет в продаже |
|
5
11
12
20
23
24
25
26
27
27
27
28
28
28
29
30
31
31
31
31
32
32
Содержащиеся в справочниках-каталогах запасные части и детали носят исключительно информационный характер