Оригинальные каталоги
| № | Номер | Наименование | Цена | |
|---|---|---|---|---|
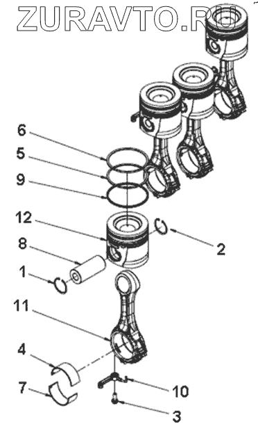
| 10BV8-04510 | 10BV8-04510 | Piston | Нет в продаже |
|
| 1 | 10M11-04509 | Hole circlip | Нет в продаже |
|
| 2 | 10M11-05516 | Camshaft | Нет в продаже |
|
| 3 | 10NA7-04612 | Conrod | Нет в продаже |
|
| 4 | 10HED-04511 | Camshaft | Нет в продаже |
|
| 5 | 10HED-04512 | The compression ring | Нет в продаже |
|
| 6 | 10NA7-04613 | Conrod | Нет в продаже |
|
| 7 | 10HED-04514 | Piston pin | Нет в продаже |
|
| 8 | 10HED-04513 | Oil ring | Нет в продаже |
|
| 9 | 10G81-04611 | Piston cooler | Нет в продаже |
|
| 10 | 10NA7-04611 | Link | Нет в продаже |
|
| 11 | 10TH6-04510 | Piston | Нет в продаже |
|
1
2
3
4
5
6
7
8
9
10
11
Содержащиеся в справочниках-каталогах запасные части и детали носят исключительно информационный характер