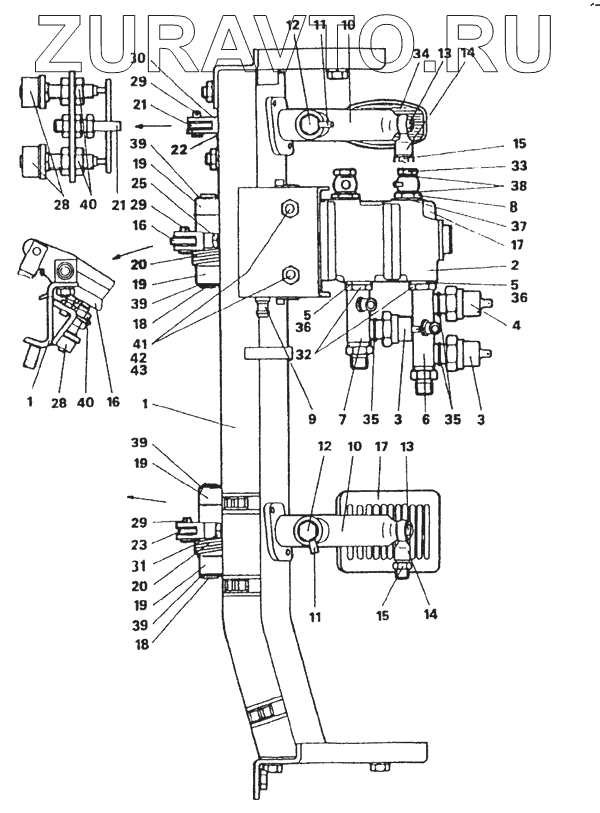
Оригинальные каталоги
| № | Номер | Наименование | Цена | |
|---|---|---|---|---|
| 442 0/110 056 1 | 442 0/110 056 1 | Педальная панель | Нет в продаже |
|
| 1 | 442 07049 035 1 | Несущая конструкция | Нет в продаже |
|
| 2 | 442 07450 086 1 | Тормозной кран в сборе | Нет в продаже |
|
| 2 | 443 612 226 003 | Тормозной кран | Нет в продаже |
|
| 3 | 443 852 098 040 | Пневматический включатель 700кПа | Нет в продаже |
|
| 4 | 443 852 106 040 | Пневматический включатель | Нет в продаже |
|
| 5 | 442 03164 005 1 | Тарелка уплотнительного кольца | Нет в продаже |
|
| 6 | 442 07826 018 1 | Арматура | Нет в продаже |
|
| 7 | 442 07826 019 1 | Арматура | Нет в продаже |
|
| 8 | 442 05356 170 1 | Редуктор | Нет в продаже |
|
| 9 | 442 05308 543 1 | Трубка | Нет в продаже |
|
| 10 | 443 611 003 004 | Главный цилиндр d22 | Нет в продаже |
|
| 11 | 443 962 504 002 | Регулировочный штуцер | Нет в продаже |
|
| 12 | 442 05238 367 1 | Приводной винт | Нет в продаже |
|
| 13 | 442 05238 187 1 | Приводной винт | Нет в продаже |
|
| 14 | 442 05379 006 1 | Регулировочный штуцер | Нет в продаже |
|
| 15 | 442 05365 110 1 | Редуктор | Нет в продаже |
|
| 16 | 442 07771 024 1 | Педаль тормоза | Нет в продаже |
|
| 16 | 442 07771 026 1 | Педаль тормоза в сборе | Нет в продаже |
|
| 17 | 442 05439 015 1 | Обтяжка педали нажимной части | Нет в продаже |
|
| 18 | 442 05001 182 1 | Палец | Нет в продаже |
|
| 19 | 442 02802 005 1 | Подшипник | Нет в продаже |
|
| 20 | 442 05051 166 1 | Пружина | Нет в продаже |
|
| 21 | 442 07771 021 1 | Педаль акселерации в сборе | Нет в продаже |
|
| 21 | 442 07771 025 1 | Педаль акселерации | Нет в продаже |
|
| 22 | 442 05065 073 1 | Пружина | Нет в продаже |
|
| 23 | 442 07771 007 1 | Педаль сцепления в сборе | Нет в продаже |
|
| 23 | 442 07771 005 1 | Педаль сцепления | Нет в продаже |
|
| 25 | 442 07905 035 1 | Кнопка | Нет в продаже |
|
| 28 | 443 854 201 800 | Включатель тормозных огней (стоп-сигнал) | Нет в продаже |
|
| 29 | 442 05006 135 1 | Палец | Нет в продаже |
|
| 30 | 442 07905 044 1 | Кнопка | Нет в продаже |
|
| 31 | 442 07905 025 1 | Кнопка | Нет в продаже |
|
| 32 | 442 05286 590 1 | Гайка М22х1,5 | Нет в продаже |
|
| 33 | 442 05238 350 1 | Болт А10 | Нет в продаже |
|
| 34 | кр В2-118.29 | Обкладка педали | Нет в продаже |
|
| 35 | [Кольцо уплотнительное 012х18 СSN 02 9310.3] | Кольцо уплотнительное d12х18 СSN 02 9310.3 | Нет в продаже |
|
| 36 | ["О" кольцо 20х2 СSN 02 9281.2] | О-кольцо 20х2 СSN 02 9281.2 | Нет в продаже |
|
| 37 | [Кольцо уплотнительное 022х27 СSN 02 9310.3] | Кольцо уплотнительное d22х27 СSN 02 9310.3 | Нет в продаже |
|
| 38 | [Кольцо уплотнительное 014х20 СSN 02 9310.3] | Кольцо уплотнительное d14х20 СSN 02 9310.3 | Нет в продаже |
|
| 39 | [Кольцо стопорное 18 СSN 02 2930] | Кольцо стопорное 18 СSN 02 2930 | Нет в продаже |
|
| 40 | 443 854 201 800 | Включатель тормозных огней (стоп-сигнал) | Нет в продаже |
|
| 41 | [Болт М12х90 СSN 02 1101.55] | Болт М12х90 СSN 02 1101.55 | Нет в продаже |
|
| 42 | [Шайба 12 СSN02 1740 05] | Шайба 12 СSN02 1740 05 | Нет в продаже |
|
| 43 | [Гайка М12 СSN 02 1403.25] | Гайка М12 СSN 02 1403.25 | Нет в продаже |
|
442 0/110 056 1
1
2
2
3
3
4
5
5
6
7
8
9
10
10
11
11
12
12
13
13
14
14
15
15
16
16
16
17
17
18
18
19
19
19
19
20
20
21
21
21
22
23
23
25
28
28
29
29
29
30
31
32
33
34
35
35
36
36
37
38
39
39
39
39
40
40
41
42
43
Содержащиеся в справочниках-каталогах запасные части и детали носят исключительно информационный характер