Оригинальные каталоги
| № | Номер | Наименование | Цена | |
|---|---|---|---|---|
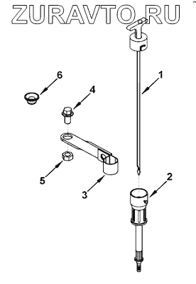
| 1 | 4989263 | Dipstick | Нет в продаже |
|
| 1 | 3974288 | Dipstick | Нет в продаже |
|
| 2 | 3969058 | Tube, Oil Gauge | Нет в продаже |
|
| 3 | 3965149 | Brace, Tube | Нет в продаже |
|
| 4 | 3925883 | Болт М8х1,25х16 (крепления пластины картера маховика,трубки турбокомпрессора ISF2.8/3.8.воздушного компрессора,распредвал 6ISBe,ISDe (АНАЛОГ) (С) (3900629/3901235) |
8.67 Р
|
|
| 5 | 3900240 | Hexagon nut | Нет в продаже |
|
| 6 | 3943808 | Expansion plug | Нет в продаже |
|
1
2
3
4
5
6
Содержащиеся в справочниках-каталогах запасные части и детали носят исключительно информационный характер