Оригинальные каталоги
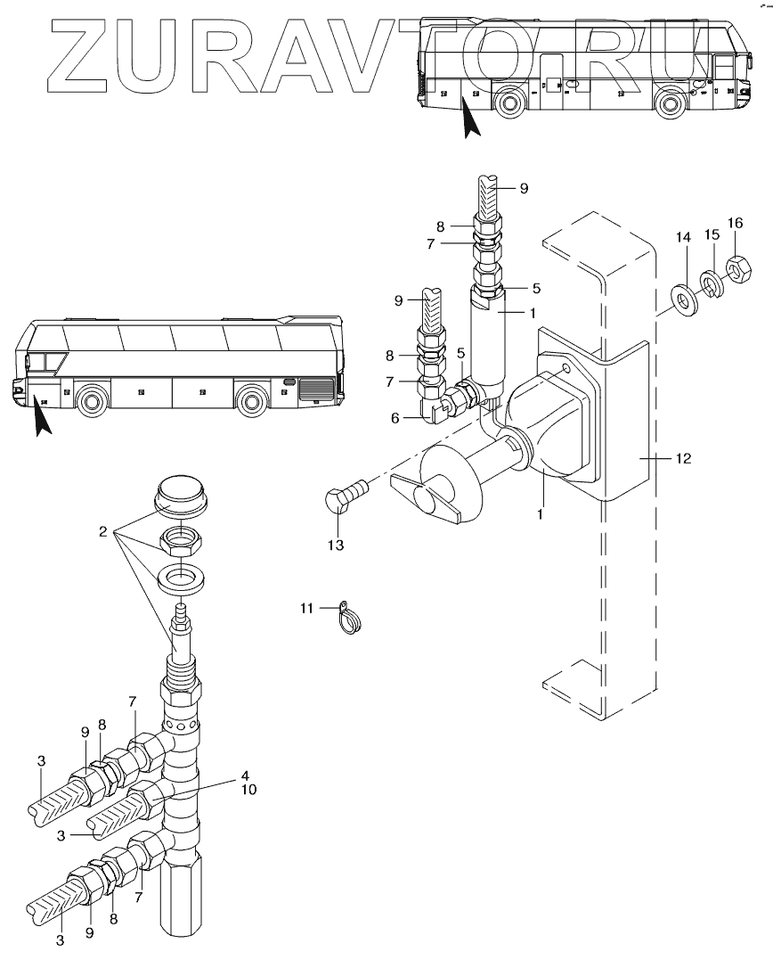
| № | Номер | Наименование | Цена | |
|---|---|---|---|---|
| 1 | 11026709 | BATTERY DISCONNECT SCARF TER PNEUMATIC CPL. | Нет в продаже |
|
| 2 | 11026710 | VALVE | Нет в продаже |
|
| 2.1 | 11026346 | IMPACT SWITCH | Нет в продаже |
|
| 2.2 | 11026347 | STANDARD GEAR -PROJECTION | Нет в продаже |
|
| 3 | 11016877 | PIPE 8X1,5 | Нет в продаже |
|
| 4 | 11016872 | BRAKE LINE | Нет в продаже |
|
| 5 | 11017840 | FITTING К 420/1 | Нет в продаже |
|
| 6 | 11018007 | NECK | Нет в продаже |
|
| 7 | 11018229 | UNION NUT M6 | Нет в продаже |
|
| 7.1 | 11018252 | CLAMPING RING 6MM | Нет в продаже |
|
| 7.2 | 11016843 | TUBE 6X1,0MM | Нет в продаже |
|
| 8 | 11017877 | THREADING STRAIGHT | Нет в продаже |
|
| 9 | 11018230 | UNION NUT | Нет в продаже |
|
| 9.1 | 11018217 | CLAMPING RING | Нет в продаже |
|
| 9.2 | 11018223 | SLEEVE | Нет в продаже |
|
| 10 | 11018216 | CLAMPING RING | Нет в продаже |
|
| 10.1 | 11018222 | SLEEVE | Нет в продаже |
|
| 11 | 11053094 | CLAMP | Нет в продаже |
|
| 12 | 11022877 | PLATE | Нет в продаже |
|
| 13 | 11055514 | SCREW | Нет в продаже |
|
| 14 | 11054594 | WASHER | Нет в продаже |
|
| 15 | 11054679 | SPRING RING | Нет в продаже |
|
| 16 | 11055815 | NUT | Нет в продаже |
|
1
1
2
3
3
3
4
5
5
6
7
7
7
7
8
8
8
8
9
9
9
9
10
11
12
13
14
15
16
Содержащиеся в справочниках-каталогах запасные части и детали носят исключительно информационный характер