Оригинальные каталоги
| № | Номер | Наименование | Цена | |
|---|---|---|---|---|
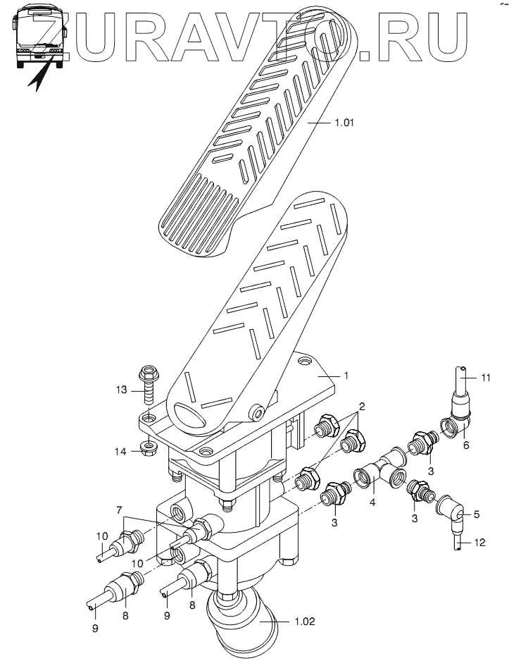
| 1 | 11018611 | RUNNING BRAKE | Нет в продаже |
|
| 1.01 | 11009788 | rubber plate | Нет в продаже |
|
| 1.02 | 11017349 | SILENCER | Нет в продаже |
|
| 2 | 11019003 | PLUG | Нет в продаже |
|
| 3 | 11018998 | QUICK CONNECTOR | Нет в продаже |
|
| 4 | 11019134 | UNION L FOR PLUG-IN P5 | Нет в продаже |
|
| 5 | 11019192 | plug connection | Нет в продаже |
|
| 6 | 11019199 | CONNECTOR | Нет в продаже |
|
| 7 | 11018953 | SCREW NECK | Нет в продаже |
|
| 8 | 11018959 | PUSH-IN-COUPLING | Нет в продаже |
|
| 9 | 11016891 | hose | Нет в продаже |
|
| 10 | 11016921 | POLY BRAKE LINE TUBE | Нет в продаже |
|
| 11 | 11016879 | POLY BRAKE AIR LINE | Нет в продаже |
|
| 12 | 11016872 | BRAKE LINE | Нет в продаже |
|
| 13 | 11055863 | SCREW | Нет в продаже |
|
| 14 | 11055859 | NUT | Нет в продаже |
|
1
1.01
1.02
2
3
3
3
4
5
6
7
8
8
9
9
10
10
11
12
13
14
Содержащиеся в справочниках-каталогах запасные части и детали носят исключительно информационный характер