Оригинальные каталоги
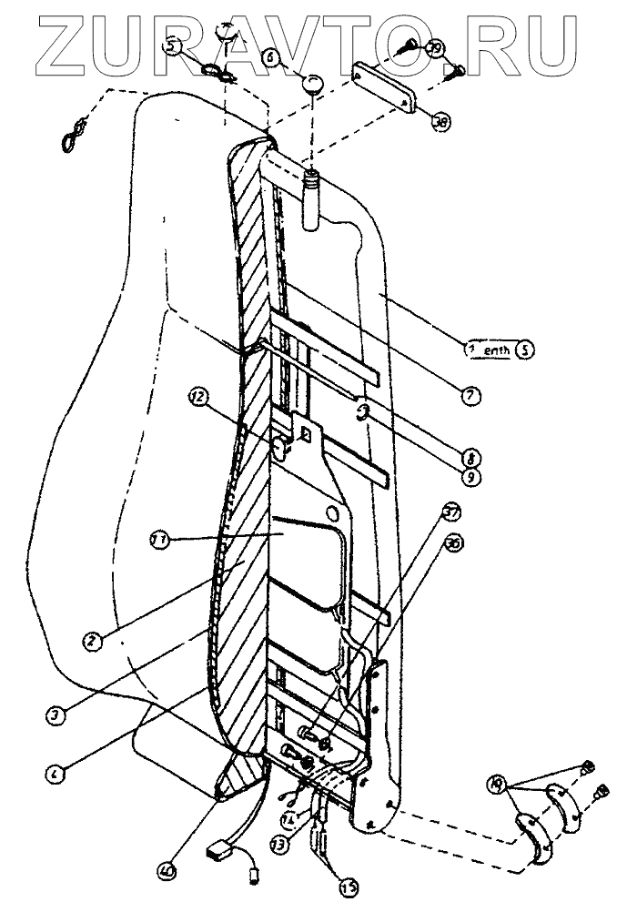
| № | Номер | Наименование | Цена | |
|---|---|---|---|---|
| 1 | 18235D01 | ВАСК FRАМЕ РАINТЕD ОТ 517 | Нет в продаже |
|
| 5 | 44344 | CLIP DRZ. 4 GUIDE TUBE | Нет в продаже |
|
| 6 | 40397 | CAP MANAGEMENT | Нет в продаже |
|
| 8 | 43931A01 | ZINC WIRE | Нет в продаже |
|
| 9 | 61777 | Round seal chamber | Нет в продаже |
|
| 11 | 16165 | AIR CUSHION ASSY. RIGHT | Нет в продаже |
|
| 12 | 47159 | CLIP | Нет в продаже |
|
| 13 | 62100 | RUBBER HOSE | Нет в продаже |
|
| 14 | 62099 | RUBBER HOSE | Нет в продаже |
|
| 15 | 47278 | PLUG NIPPLE | Нет в продаже |
|
| 35 | 46814 | GEAR SEGMENT VORMONT. | Нет в продаже |
|
| 36 | 60019 | SPRING RING | Нет в продаже |
|
| 37 | 60348 | CYL. SCREW M.I.SKT. | Нет в продаже |
|
| 40 | 918021 | E-KIT Pneumatic lumbar spine. BACK PIECE | Нет в продаже |
|
1
5
5
6
8
9
11
12
13
14
15
36
37
40
Содержащиеся в справочниках-каталогах запасные части и детали носят исключительно информационный характер