Оригинальные каталоги
| № | Номер | Наименование | Цена | |
|---|---|---|---|---|
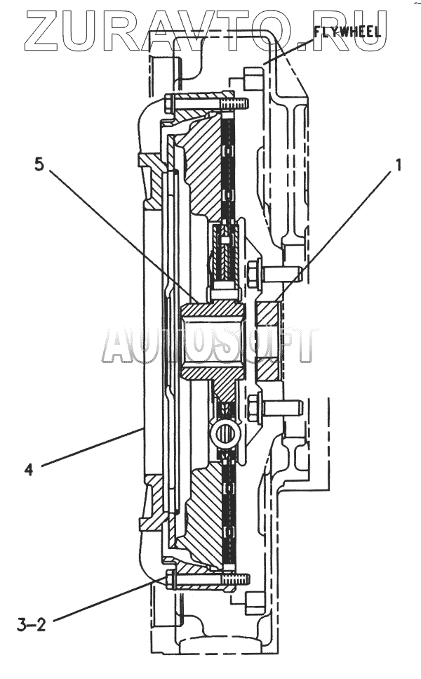
| 105-9785 | 105-9785 | СLUТСН GР | Нет в продаже |
|
| 1 | 6V-2202 | ВАLL ВЕАRING | Нет в продаже |
|
| 2 | 8Т-0100 | ВОLТ (М8Х1.25Х60ММ) | Нет в продаже |
|
| 3 | 9М-1974 | WАSНЕR-НАRD (8.8Х16Х2ММ ТНК) | Нет в продаже |
|
| 4 | 106-8884 | РLАТЕ-РRЕSSURЕ | Нет в продаже |
|
| 5 | 106-8888 | DISС-СLUТСН | Нет в продаже |
|
1
2
3
4
5
Содержащиеся в справочниках-каталогах запасные части и детали носят исключительно информационный характер