Оригинальные каталоги
| № | Номер | Наименование | Цена | |
|---|---|---|---|---|
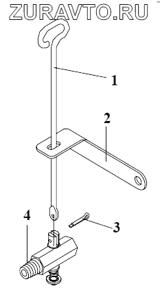
| 1 | 1305013-29D | Ручка сливного крана | Нет в продаже |
|
| 1 | 1305013A29D | Рукоятка сливного крана | Нет в продаже |
|
| 2 | 1305031-29D | Опора сливного крана | Нет в продаже |
|
| 3 | Q5003025 | Шплинт | Нет в продаже |
|
| 4 | 1305010-29D | Сливной кран | Нет в продаже |
|
1
1
2
3
4
Содержащиеся в справочниках-каталогах запасные части и детали носят исключительно информационный характер