Оригинальные каталоги
| № | Номер | Наименование | Цена | |
|---|---|---|---|---|
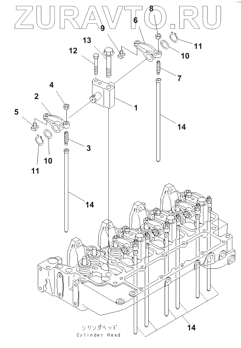
| 6736-41-5110 | 6736-41-5110 | BRACKET ASSY | Нет в продаже |
|
| 6732-41-5120 | 6732-41-5120 | Bracket | Нет в продаже |
|
| 6732-41-5200 | 6732-41-5200 | ARM ASSY | Нет в продаже |
|
| 6732-41-5400 | 6732-41-5400 | ARM ASSY | Нет в продаже |
|
| 1 | 6732-41-5130 | Shaft assembly | Нет в продаже |
|
| 2 | 6732-41-5210 | Arm, intake | Нет в продаже |
|
| 3 | 6732-41-5420 | Screw | Нет в продаже |
|
| 4 | 6735-41-5550 | NUT | Нет в продаже |
|
| 5 | 6732-41-5440 | Insert | Нет в продаже |
|
| 6 | 6732-41-5410 | Arm, exhaust | Нет в продаже |
|
| 7 | 6732-41-5420 | Screw | Нет в продаже |
|
| 8 | 6735-41-5550 | NUT | Нет в продаже |
|
| 9 | 6732-41-5440 | Insert | Нет в продаже |
|
| 10 | 6732-41-5160 | WASHER | Нет в продаже |
|
| 11 | 6732-41-5170 | RING, SNAP | Нет в продаже |
|
| 12 | 6732-41-5180 | BOLT | Нет в продаже |
|
| 13 | 6732-11-1640 | BOLT | Нет в продаже |
|
| 14 | 6732-41-3110 | Rod, push | Нет в продаже |
|
6736-41-5110
6732-41-5120
6732-41-5200
6732-41-5400
1
2
3
4
5
6
7
8
9
10
10
11
11
12
13
14
14
14
Содержащиеся в справочниках-каталогах запасные части и детали носят исключительно информационный характер