Оригинальные каталоги
| № | Номер | Наименование | Цена | |
|---|---|---|---|---|
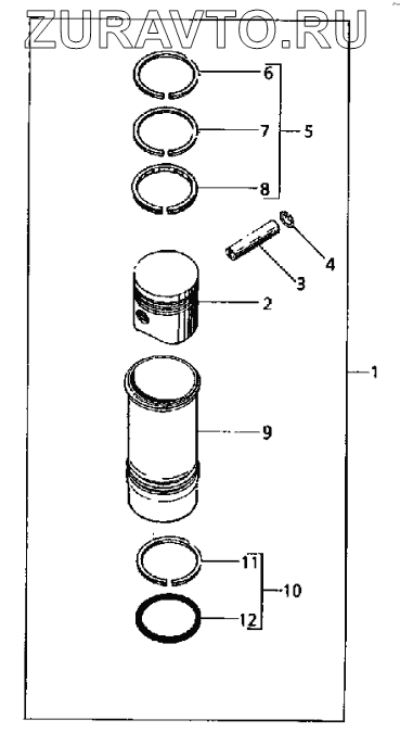
| 1 | 1822333C93 | Kit | Нет в продаже |
|
| 2 | 1822098C3 | Piston | Нет в продаже |
|
| 3 | 1818552C1 | Gudgeon pin | Нет в продаже |
|
| 4 | 1818702C1 | Circlip | Нет в продаже |
|
| 5 | 1822337C91 | Kit | Нет в продаже |
|
| 6 | Pistonring | Piston ring | Нет в продаже |
|
| 7 | Pistonring | Piston ring | Нет в продаже |
|
| 8 | Pistonring | Piston ring | Нет в продаже |
|
| 9 | 1815648C1 | Liner | Нет в продаже |
|
| 10 | 1822322C91 | Kit | Нет в продаже |
|
| 11 | Seal | Seal | Нет в продаже |
|
| 12 | O-ring | O-ring | Нет в продаже |
|
1
2
3
4
5
6
7
8
9
10
11
12
Содержащиеся в справочниках-каталогах запасные части и детали носят исключительно информационный характер