Оригинальные каталоги
| № | Номер | Наименование | Цена | |
|---|---|---|---|---|
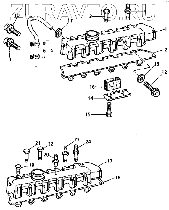
| 5 | 1827214C1 | Tube assy | Нет в продаже |
|
| 6 | Tube | Tube | Нет в продаже |
|
| 7 | Clip | Clip | Нет в продаже |
|
| 8 | Clip | Clip | Нет в продаже |
|
| 9 | 1818233C1 | Bolt metric | Нет в продаже |
|
| 10 | 1817967C1 | Bolt metric | Нет в продаже |
|
| 11 | 1822135C1 | O-ring | Нет в продаже |
|
| 14 | Baffle | Baffle | Нет в продаже |
|
| 15 | Bolt | Bolt | Нет в продаже |
|
| 16 | Element | Element | Нет в продаже |
|
5
6
7
8
9
10
11
14
15
16
Содержащиеся в справочниках-каталогах запасные части и детали носят исключительно информационный характер