Назад

Оригинальные каталоги

zoom-in zoom-out enlarge shrink circle-right circle-left file-text2 info cart
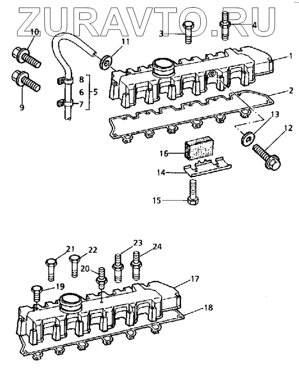
Номер Наименование Цена
1 1823998C91 Valve cover Нет в продаже
2 1817510C1 Gasket Нет в продаже
3 1817961C1 Bolt metric Нет в продаже
4 1819245C1 Stud Нет в продаже
1
2
3
4
100%
Содержащиеся в справочниках-каталогах запасные части и детали носят исключительно информационный характер