Оригинальные каталоги
| № | Номер | Наименование | Цена | |
|---|---|---|---|---|
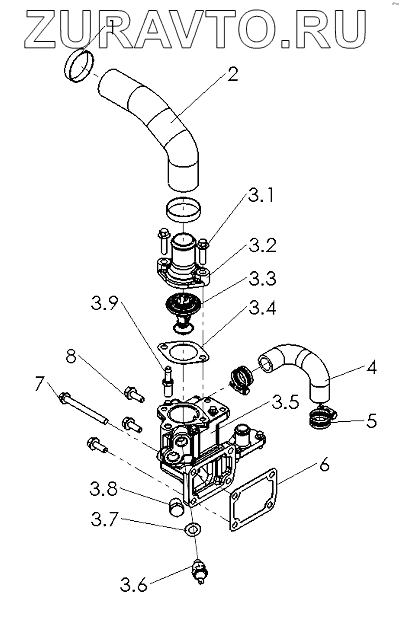
| R7000-1306000 | R7000-1306000 | Thermostat assembly | Нет в продаже |
|
| 1 | Q67645F32 | Hoop | Нет в продаже |
|
| 2 | R7000-1306050 | Pipe | Нет в продаже |
|
| 3 | R3000-1306400A | Thermostat Parts | Нет в продаже |
|
| 3.1 | Q1840830T1F32 | Bolt | Нет в продаже |
|
| 3.2 | R3000-1306001 | Thermostat cover | Нет в продаже |
|
| 3.3 | R3000-1306004 | Thermostat | Нет в продаже |
|
| 3.4 | R3000-1306002 | Thermostat cover gasket | Нет в продаже |
|
| 3.5 | R3000-1306070A | Thermostat seat component | Нет в продаже |
|
| 3.5.1 | R3000-1306003A | Thermostat seat | Нет в продаже |
|
| 3.5.2 | R3000-1306008 | Reducer joint | Нет в продаже |
|
| 3.5.3 | Q1840660 | Bolt | Нет в продаже |
|
| 3.5.4 | Q1840665 | Bolt | Нет в продаже |
|
| 3.6 | L4700-3823180 | Water sensor | Нет в продаже |
|
| 3.7 | Q/YC149-12 | Composite seal | Нет в продаже |
|
| 3.8 | E1101-3800100 | Water sensor | Нет в продаже |
|
| 3.9 | FC600-1306009 | Deflated joint | Нет в продаже |
|
| 4 | R3000-1306005 | Water return hose | Нет в продаже |
|
| 5 | Q67627F32 | Loop hoop | Нет в продаже |
|
| 6 | R3000-1306006 | Thermostat petdestal gasket | Нет в продаже |
|
| 7 | Q1840880T1F32 | Bolt | Нет в продаже |
|
| 8 | Q1840822T1F32 | Bolt | Нет в продаже |
|
1
2
3.1
3.2
3.3
3.4
3.5
3.6
3.7
3.8
3.9
4
5
6
7
8
Содержащиеся в справочниках-каталогах запасные части и детали носят исключительно информационный характер