Оригинальные каталоги
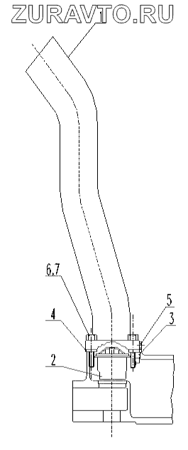
| № | Номер | Наименование | Цена | |
|---|---|---|---|---|
| 1 | 4110001003114 | Water hose | Нет в продаже |
|
| 2 | 4110000186267 | Thermostat | Нет в продаже |
|
| 3 | 4110000186266 | Valve | Нет в продаже |
|
| 4 | 4110000186707 | Spacer | Нет в продаже |
|
| 5 | 4110000186270 | Plug | Нет в продаже |
|
| 6 | 4110000186271 | Screw | Нет в продаже |
|
| 7 | 4110000186272 | Washer | Нет в продаже |
|
1
2
3
4
5
6
7
Содержащиеся в справочниках-каталогах запасные части и детали носят исключительно информационный характер