Оригинальные каталоги
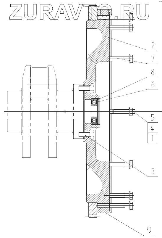
| № | Номер | Наименование | Цена | |
|---|---|---|---|---|
| 1 | B00001116 | Stud | Нет в продаже |
|
| 2 | D06B-001-803 | Flywheel and ring gear assy | Нет в продаже |
|
| 3 | D06B-108-30 | Болт, маховик | Нет в продаже |
|
| 4 | B00001237 | SPRING WASHER | Нет в продаже |
|
| 5 | B00000833 | NUT, HEX FLANGE HEAD CAP | Нет в продаже |
|
| 6 | B00000234 | BUSHING | Нет в продаже |
|
| 7 | B00002024 | Hexagon bolts with flange | Нет в продаже |
|
| 8 | B00001045 | RING RETAINER FOR HOLE | Нет в продаже |
|
| 9 | D06B-103-06 | Flywheel ring gear | Нет в продаже |
|
1
2
3
4
5
6
7
8
9
Содержащиеся в справочниках-каталогах запасные части и детали носят исключительно информационный характер