Назад

Оригинальные каталоги

zoom-in zoom-out enlarge shrink circle-right circle-left file-text2 info cart
Номер Наименование Цена
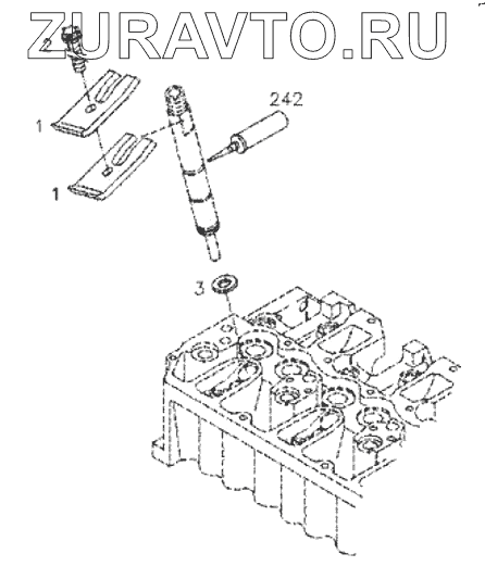
1 4110000509204 Claw Нет в продаже
2 4110000509205 Torx-head bolt Нет в продаже
3 4110000970018 Sealing ring for fuel injector Нет в продаже
1
1
2
3
100%
Содержащиеся в справочниках-каталогах запасные части и детали носят исключительно информационный характер