Оригинальные каталоги
| № | Номер | Наименование | Цена | |
|---|---|---|---|---|
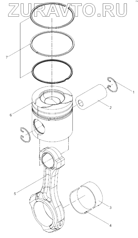
| 1 | 81560030012 | Стопорное кольцо | Нет в продаже |
|
| 2 | 61560030013 | Палец поршневой | Нет в продаже |
|
| 3 | 612600030020 | Вкладыш верхний | Нет в продаже |
|
| 4 | 61560030033 | Вкладыш нижний | Нет в продаже |
|
| 5 | 61500030009 | Шатун в сборе | Нет в продаже |
|
| 6 | 612600030010 | Поршень | Нет в продаже |
|
| 7 | 612600030051 | Piston ring assembly | Нет в продаже |
|
1
2
3
4
5
6
7
Содержащиеся в справочниках-каталогах запасные части и детали носят исключительно информационный характер