Оригинальные каталоги
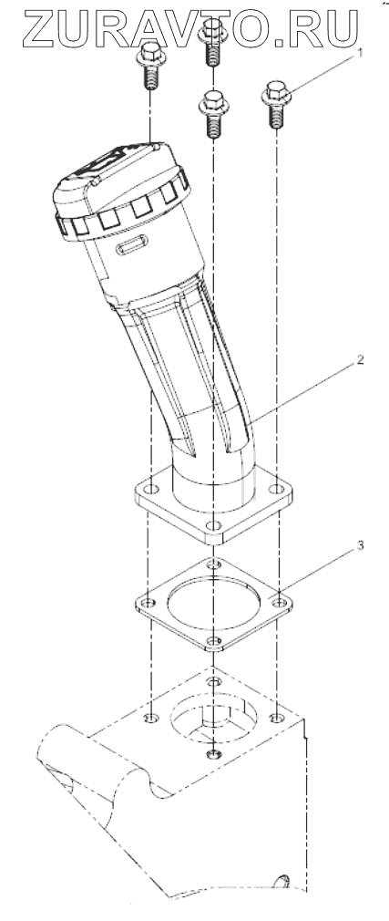
| № | Номер | Наименование | Цена | |
|---|---|---|---|---|
| 1 | 90011430015 | Hexagon Flange Bolt | Нет в продаже |
|
| 2 | 612600015335 | Oil filling pipe assembly | Нет в продаже |
|
| 3 | 614010086 | Уплотнительная пластина | Нет в продаже |
|
1
2
3
Содержащиеся в справочниках-каталогах запасные части и детали носят исключительно информационный характер