Назад

Оригинальные каталоги

zoom-in zoom-out enlarge shrink circle-right circle-left file-text2 info cart
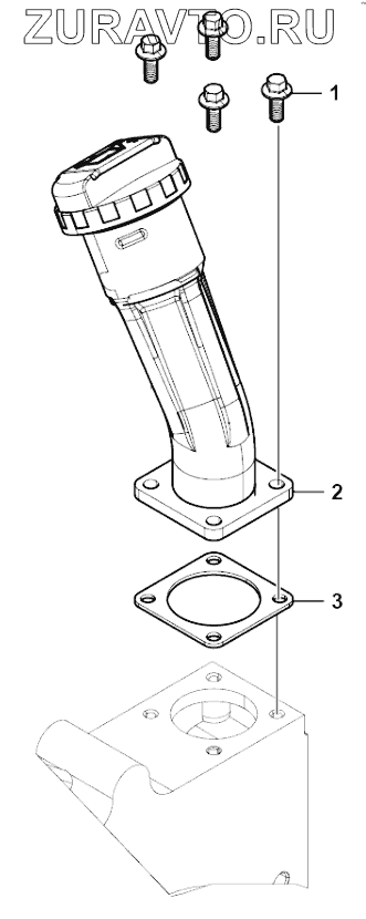
Номер Наименование Цена
1 4110000924077 Screw Нет в продаже
2 4110001554022 Oil pipe Нет в продаже
3 4110000924078 Gasket Нет в продаже
1
2
3
100%
Содержащиеся в справочниках-каталогах запасные части и детали носят исключительно информационный характер