Оригинальные каталоги
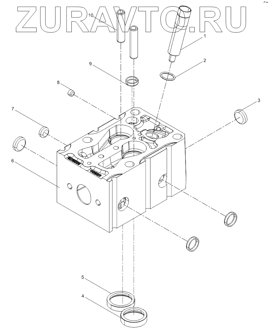
| № | Номер | Наименование | Цена | |
|---|---|---|---|---|
| 1 | 612600040099 | Втулка масляного впрыска | Нет в продаже |
|
| 2 | 406060010 | Уплотнительное кольцо | Нет в продаже |
|
| 3 | 90003989294 | Заглушка чашеобразная | Нет в продаже |
|
| 4 | 81560040037 | Сальник выпускного клапана | Нет в продаже |
|
| 5 | 61560040057 | Сальник впускного клапана | Нет в продаже |
|
| 6 | 61560040040B | Корпус головки | Нет в продаже |
|
| 7 | 90003989721 | Заглушка чашеобразная | Нет в продаже |
|
| 8 | 90003989277 | Заглушка чашеобразная | Нет в продаже |
|
| 9 | 90003989725 | Заглушка чашеобразная | Нет в продаже |
|
| 10 | 612600040113 | Втулка клапана | Нет в продаже |
|
1
2
3
4
5
6
7
8
9
10
Содержащиеся в справочниках-каталогах запасные части и детали носят исключительно информационный характер