Оригинальные каталоги
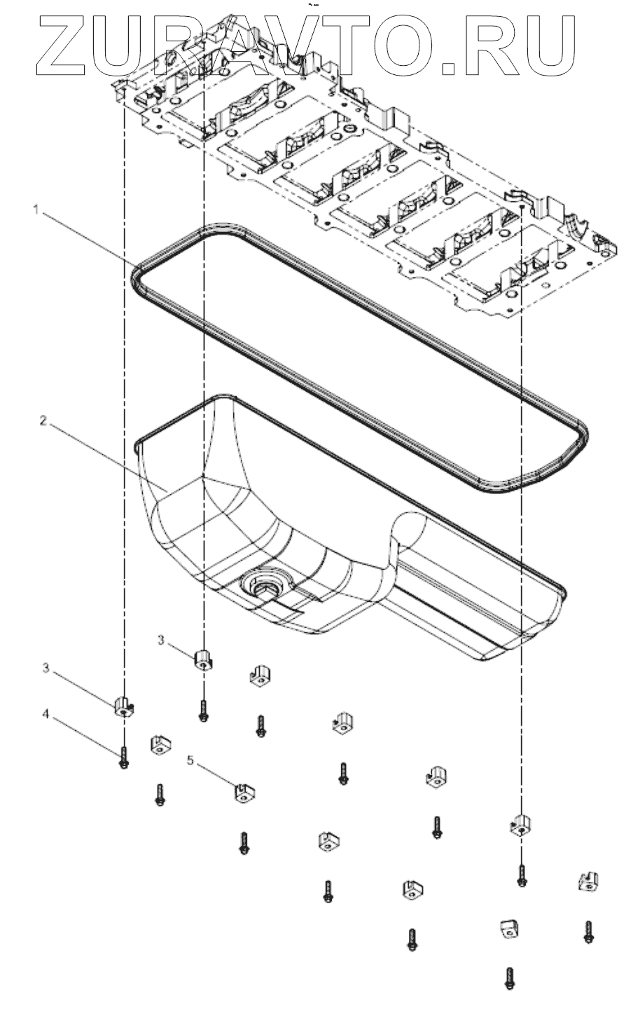
| № | Номер | Наименование | Цена | |
|---|---|---|---|---|
| 1 | 614150004 1 | Seal washer | Нет в продаже |
|
| 2 | 612600150379 | Oil pan assembly | Нет в продаже |
|
| 3 | 612600150390 | Oil pan block | Нет в продаже |
|
| 4 | 90011430019 | Hexagon Flange Bolt | Нет в продаже |
|
| 5 | 614150046 | Прижимной блок | Нет в продаже |
|
1
2
3
3
4
5
Содержащиеся в справочниках-каталогах запасные части и детали носят исключительно информационный характер