Оригинальные каталоги
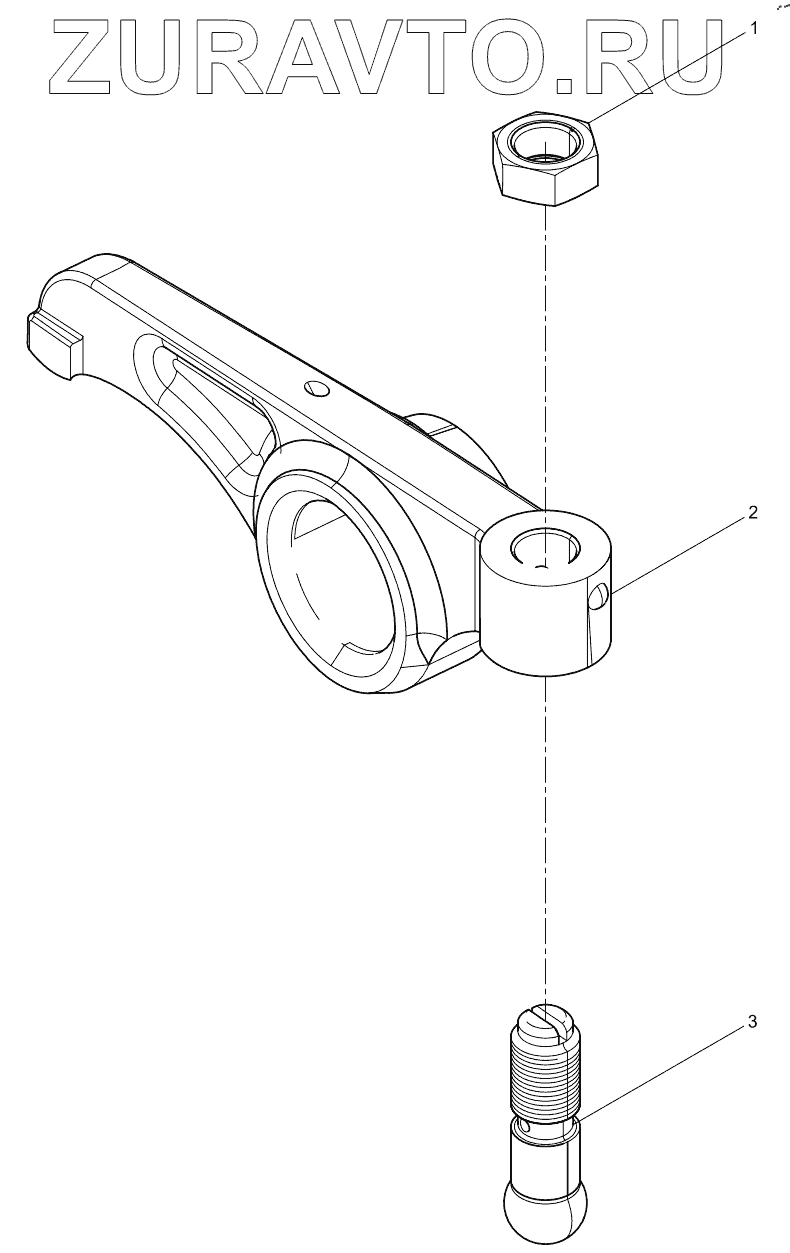
| № | Номер | Наименование | Цена | |
|---|---|---|---|---|
| 1 | 2130050065 | Гайка винта регулировочного | Нет в продаже |
|
| 2 | 614050048 | Рычаг впускного клапана | Нет в продаже |
|
| 3 | 614050010 | Винт регулировочный | Нет в продаже |
|
1
2
3
Содержащиеся в справочниках-каталогах запасные части и детали носят исключительно информационный характер