Оригинальные каталоги
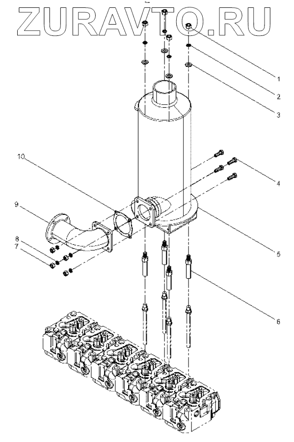
| № | Номер | Наименование | Цена | |
|---|---|---|---|---|
| 1 | 4110000054143 | Nut | Нет в продаже |
|
| 2 | 4110000560320 | Washer | Нет в продаже |
|
| 3 | 4110000846019 | Washer | Нет в продаже |
|
| 4 | 4110001034004 | Screw | Нет в продаже |
|
| 5 | 4110000909135 | Silencer | Нет в продаже |
|
| 6 | 4110000054129 | Screw | Нет в продаже |
|
| 7 | 4110000054142 | Nut | Нет в продаже |
|
| 8 | 4110000054024 | Washer | Нет в продаже |
|
| 9 | 4110000909079 | Pipe | Нет в продаже |
|
| 10 | 4110000054039 | Gasket | Нет в продаже |
|
1
2
3
4
5
6
7
8
9
10
Содержащиеся в справочниках-каталогах запасные части и детали носят исключительно информационный характер