Оригинальные каталоги
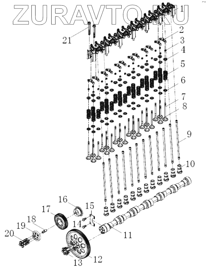
| № | Номер | Наименование | Цена | |
|---|---|---|---|---|
| 1 | 610800050064 | Rocker shaft assemblies | Нет в продаже |
|
| 2 | 610800050072 | 610800050072 - мост клапана 610800050072 | Нет в продаже |
|
| 3 | 610800050009 | 610800050009 - сухарь клапана 610800050009 | Нет в продаже |
|
| 4 | 610800050010 | 610800050010 - Тарелка клапана верхняя 610800050010 | Нет в продаже |
|
| 5 | 610800050030 | 610800050030 - Пружина клапана 610800050030 | Нет в продаже |
|
| 6 | 610800050029 | Spring seat | Нет в продаже |
|
| 7 | 610800050049 | Intake valve | Нет в продаже |
|
| 8 | 610800050050 | Exhaust valve | Нет в продаже |
|
| 9 | 610800050122 | 610800050122 - штанга толкателя 610800050122 | Нет в продаже |
|
| 10 | 610800050032 | 610800050032 - толкатель 610800050032 | Нет в продаже |
|
| 11 | 610800050053 | 610800050053 - распредвал 610800050053 | Нет в продаже |
|
| 12 | 610800050001 | 610800050001 - шестерня распредвала 610800050001 | Нет в продаже |
|
| 13 | 612600050145S | Hexagon bolt | Нет в продаже |
|
| 14 | 90011350026S | Hexagon bolt | Нет в продаже |
|
| 15 | 610800050036 | 610800050036 - упорная пластина распредвала 610800050036 | Нет в продаже |
|
| 16 | 610800050003 | Intermediate shaft | Нет в продаже |
|
| 17 | 610800050008 | Intermediate gear assembly | Нет в продаже |
|
| 18 | 610800050006 | Intermediate gear shaft | Нет в продаже |
|
| 19 | 610800050035 | Gasket | Нет в продаже |
|
| 20 | 610800050007S | Hexagon bolt | Нет в продаже |
|
| 21 | 610800050065 | bolt | Нет в продаже |
|
1
2
3
4
5
6
7
8
9
10
11
12
13
14
15
16
17
18
19
20
21
Содержащиеся в справочниках-каталогах запасные части и детали носят исключительно информационный характер