Оригинальные каталоги
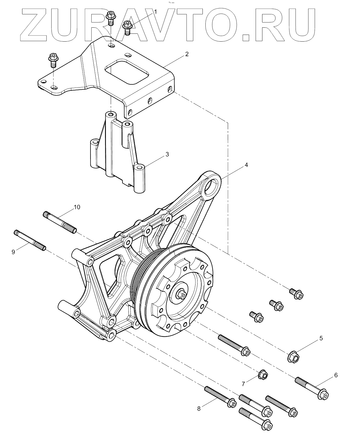
| № | Номер | Наименование | Цена | |
|---|---|---|---|---|
| 1 | 9000000734 | Hexagon Flange Bolt | Нет в продаже |
|
| 2 | 1005557291 | Bracket | Нет в продаже |
|
| 3 | 1005557293 | Bracket | Нет в продаже |
|
| 4 | 1004482705 | Fan Bracket Assembly | Нет в продаже |
|
| 5 | 90012290005 | Hexagon Flange Nut | Нет в продаже |
|
| 6 | 9000000291 | Hexagon Flange Bolt | Нет в продаже |
|
| 7 | 90012290007 | Hexagon Flange Nut | Нет в продаже |
|
| 8 | 9000000360 | Hexagon Flange Bolt | Нет в продаже |
|
| 9 | 90011520014 | Double End Stud | Нет в продаже |
|
| 10 | 9000001564 | Double End Stud | Нет в продаже |
|
1
2
3
4
5
6
7
8
9
10
Содержащиеся в справочниках-каталогах запасные части и детали носят исключительно информационный характер