Оригинальные каталоги
| № | Номер | Наименование | Цена | |
|---|---|---|---|---|
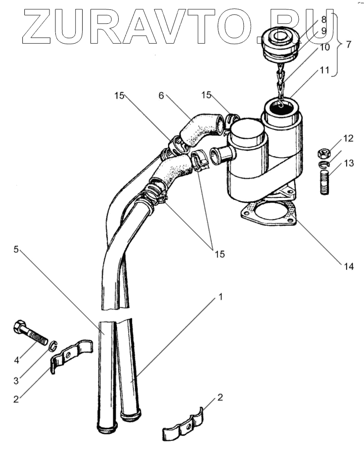
| 240-1014104-Б | 240-1014104-Б | Сапун в сборе | Нет в продаже |
|
| 236-1014104 | 236-1014104 | Сапун с маслоналивным патрубком в сборе | Нет в продаже |
|
| 1 | 240-1014149-Б | Труба отвода газов в сборе | Нет в продаже |
|
| 2 | 240-1014147 | Скоба | Нет в продаже |
|
| 3 | 252005-П29 | Шайба плоская | Нет в продаже |
|
| 4 | 200271-П29 | Болт М8х60 | Нет в продаже |
|
| 5 | 240-1014148 | Труба отвода газов в сборе | Нет в продаже |
|
| 6 | 240-1014138 | Патрубок переходной | Нет в продаже |
|
| 7 | 240-1014094 | Сапун в сборе | Нет в продаже |
|
| 8 | 201-1114060-А | Крышка головки маслозаливного патрубка в сборе | Нет в продаже |
|
| 9 | 201-1114065-А2 | Прокладка крышки маслоналивного патрубка | Нет в продаже |
|
| 10 | 201-1114064-А | Цепочка крышки | Нет в продаже |
|
| 11 | 240-1014098 | Сапун с патрубком в сборе | Нет в продаже |
|
| 12 | 250511-П29 | Гайка | Нет в продаже |
|
| 13 | 216235-П29 | Шпилька | Нет в продаже |
|
| 14 | 240-1014128 | Прокладка сапуна | Нет в продаже |
|
| 14 | 240-1014120-А | Кольцо уплотнительное | Нет в продаже |
|
| 15 | ABA 26-38-C7/9-W1 | Хомут червячный ABA 26-38-C7/9-W1 | Нет в продаже |
|
| 15 | TORRO S25-40/9C7-W1 | Хомут червячный TORRO S25-40/9C7-W1 | Нет в продаже |
|
1
2
2
3
4
5
6
7
8
9
10
11
12
13
14
14
15
15
15
15
Содержащиеся в справочниках-каталогах запасные части и детали носят исключительно информационный характер