Оригинальные каталоги
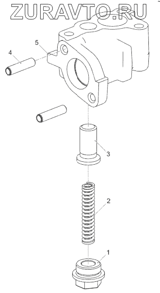
| № | Номер | Наименование | Цена | |
|---|---|---|---|---|
| 1 | 5340.1011370-10 | Пробка М24х1.5 | Нет в продаже |
|
| 2 | 5340.1011058-10 | Пружина редукционного клапана | Нет в продаже |
|
| 3 | 236-1011364-Б | Плунжер | Нет в продаже |
|
| 4 | 216235-П29 | Шпилька | Нет в продаже |
|
| 5 | 5340.1011050-01 | Корпус редукционного клапана | Нет в продаже |
|
1
2
3
4
5
Содержащиеся в справочниках-каталогах запасные части и детали носят исключительно информационный характер