Оригинальные каталоги
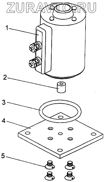
| № | Номер | Наименование | Цена | |
|---|---|---|---|---|
| 1 | 153747 | Электромагнит | Нет в продаже |
|
| 2 | 531-1705206 | Втулка | Нет в продаже |
|
| 3 | 045053-46-2-2 | Кольцо | Нет в продаже |
|
| 4 | 7548-1705076 | Фланец | Нет в продаже |
|
| 5 | 221602 | Винт | Нет в продаже |
|
1
2
3
4
5
Содержащиеся в справочниках-каталогах запасные части и детали носят исключительно информационный характер