Назад

Оригинальные каталоги

zoom-in zoom-out enlarge shrink circle-right circle-left file-text2 info cart
Номер Наименование Цена
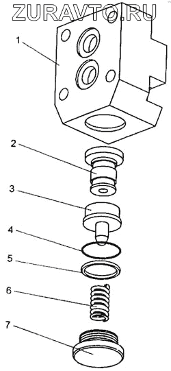
1 78211-4617107 Корпус (453642) Нет в продаже
2 78211-4617114 Седло (453642) Нет в продаже
3 78211-4617122 Клапан (453642) Нет в продаже
4 78211-4617128 Кольцо защитное Нет в продаже
5 027-032-30-2-2 Кольцо Нет в продаже
6 78211-4617119 Пружина Нет в продаже
7 78211-4617132 Крышка Нет в продаже
1
2
3
4
5
6
7
100%
Содержащиеся в справочниках-каталогах запасные части и детали носят исключительно информационный характер