Оригинальные каталоги
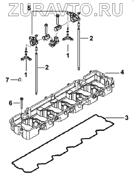
| № | Номер | Наименование | Цена | |
|---|---|---|---|---|
| 1 | 3943445 | Траверса (перемычка коромысла) (крейцкопф,ползун клапанов) ISLe,L (ОРИГИНАЛ) (О+) (5262552) | Нет в продаже |
|
| 2 | 3964715 | Штанга толкателя 6ISLe, QSL, L 3964715 | Нет в продаже |
|
| 3 | 3966708 | Прокладка под рамку крышки клапана 6ISLe (АНАЛОГ) (C) (5272959) | Нет в продаже |
|
| 4 | 3967265 | Камера коромысла | Нет в продаже |
|
| 5 | 3972540 | Коромысло (в сб.на цилиндр) ISLe (АНАЛОГ) (C) (3941934/5253887) | Нет в продаже |
|
| 6 | C3901447 | Болт | Нет в продаже |
|
| 7 | C3920706 | Чашевидная заглушка | Нет в продаже |
|
1
1
2
2
3
4
5
6
7
Содержащиеся в справочниках-каталогах запасные части и детали носят исключительно информационный характер