Оригинальные каталоги
| № | Номер | Наименование | Цена | |
|---|---|---|---|---|
| Q1841645-0H1 | Q1841645-0H1 | Болт | Нет в продаже |
|
| Q32216-0H1 | Q32216-0H1 | Стопорная гайка | Нет в продаже |
|
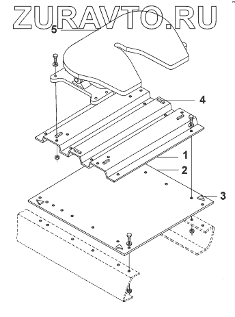
| 1 | 27ZB1-01010 | Соединительная плита седла | Нет в продаже |
|
| 2 | 27ZB1-01020 | Усиленная плита седла | Нет в продаже |
|
| 3 | 27N42-01023 | Треугольный распорный блок | Нет в продаже |
|
| 4 | 27N42-01024 | Полосовой распорный блок | Нет в продаже |
|
| 5 | 2702010-K1001 | Седло в сборе | Нет в продаже |
|
1
2
3
4
5
Содержащиеся в справочниках-каталогах запасные части и детали носят исключительно информационный характер