Оригинальные каталоги
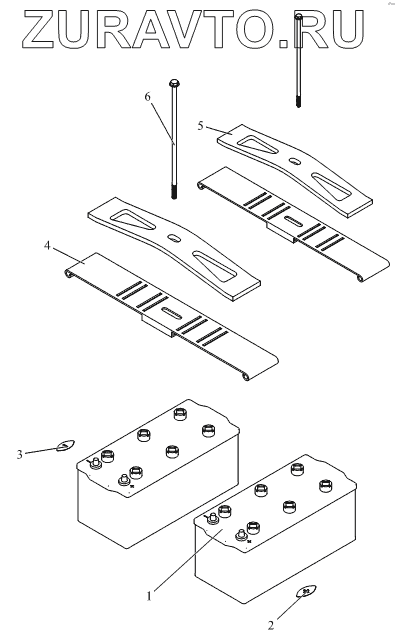
| № | Номер | Наименование | Цена | |
|---|---|---|---|---|
| 1 | 3703010В242 | Аккумулятор | Нет в продаже |
|
| 2 | 3703021-242 | Защитный кожух-аккумулятор (+) | Нет в продаже |
|
| 3 | 3703022-242 | Защитный кожух-аккумулятор (-) | Нет в продаже |
|
| 4 | 3703161-242 | Нижняя скоба аккумулятора | Нет в продаже |
|
| 5 | 3703162-240 | Верхняя скоба аккумулятора | Нет в продаже |
|
| 6 | 3703163-242 | Крепежный болт аккумулятора | Нет в продаже |
|
1
2
3
4
5
6
Содержащиеся в справочниках-каталогах запасные части и детали носят исключительно информационный характер