Назад

Оригинальные каталоги

zoom-in zoom-out enlarge shrink circle-right circle-left file-text2 info cart
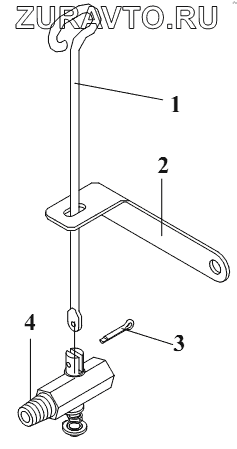
Номер Наименование Цена
1 1305013-29D Ручка сливного крана Нет в продаже
1 1305013A29D Рукоятка сливного крана Нет в продаже
2 1305031-29D Опора сливного крана Нет в продаже
3 Q5003025 Шплинт Нет в продаже
4 1305010-29D Сливной кран Нет в продаже
1
1
2
3
4
100%
Содержащиеся в справочниках-каталогах запасные части и детали носят исключительно информационный характер