Оригинальные каталоги
| № | Номер | Наименование | Цена | |
|---|---|---|---|---|
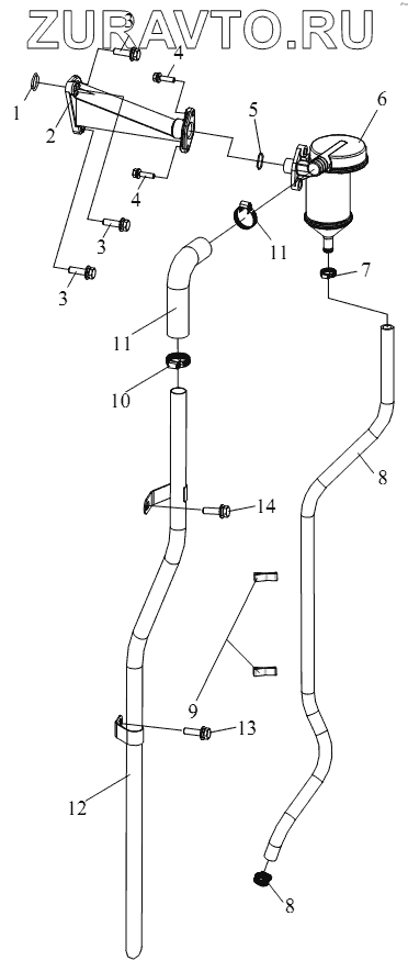
| 1 | 1014014-70A | Уплотнительное кольцо-воздухоотделитель | Нет в продаже |
|
| 1 | 1014014A600-0367 | Уплотнительное кольцо | Нет в продаже |
|
| 2 | 1014021-48D | Стойка - воздухоотделитель | Нет в продаже |
|
| 2 | 1014021B621-0000 | Стойка - воздухоотделитель | Нет в продаже |
|
| 3 | CQ1460830 | Болт | Нет в продаже |
|
| 4 | CQ1460625 | Болт | Нет в продаже |
|
| 5 | 1014036-29D | Уплотнительное кольцо держателя маслоотделителя | Нет в продаже |
|
| 5 | 1014017-70A | Уплотнительное кольцо-стойка воздухоотделителя | Нет в продаже |
|
| 6 | 1014010-70AB1 | Воздухоотделитель в сборе | Нет в продаже |
|
| 6 | 1014010A600-0367 | Маслоотделитель в сборе | Нет в продаже |
|
| 7 | Q676B16 | Хомутик шланга | Нет в продаже |
|
| 8 | 1014022-630-0000 | Обратный маслопровод -воздухоотделитель | Нет в продаже |
|
| 8 | 1014022-B29D | Обратный маслопровод -воздухоотделитель | Нет в продаже |
|
| 9 | 1014031-48D | Трубожержатель | Нет в продаже |
|
| 9 | 1014031-621-0000 | Трубожержатель | Нет в продаже |
|
| 10 | Q676B29 | Скоба червячного приводного шланга | Нет в продаже |
|
| 11 | 1014029-48D | Соединительная труба-вентиляционная труба в сборе | Нет в продаже |
|
| 11 | 1014029B621-0000 | Соединительная труба-вентиляционная труба в сборе | Нет в продаже |
|
| 12 | 1014025B630-0000 | Вентиляционная труба в сборе | Нет в продаже |
|
| 12 | 1014025-59D | Вентиляционная труба в сборе | Нет в продаже |
|
| 13 | Q1841020 | Болт | Нет в продаже |
|
| 13 | Q40110 | Шайба | Нет в продаже |
|
| 14 | Q1840816 | Болт | Нет в продаже |
|
| 14 | Q40108 | Q40108 - кольцо уплотнительное Q40108 | Нет в продаже |
|
1
1
2
2
3
3
3
4
4
5
5
6
6
7
8
8
8
9
9
10
11
11
11
12
12
13
13
14
14
Содержащиеся в справочниках-каталогах запасные части и детали носят исключительно информационный характер