Оригинальные каталоги
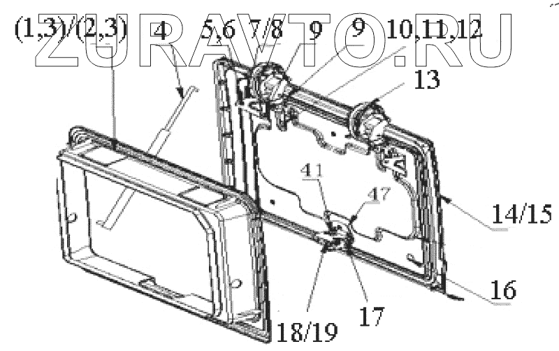
| № | Номер | Наименование | Цена | |
|---|---|---|---|---|
| 1 | AZ1664290035 | Left toolbox decorative frame | Нет в продаже |
|
| 2 | AZ1664290036 | Right toolbox decorative frame | Нет в продаже |
|
| 3 | AZ1664290037 | Sealing strip | Нет в продаже |
|
| 4 | WG1664290017 | Tool box gas spring assembly | Нет в продаже |
|
| 5 | Q340B06F31 | Hex nut | Нет в продаже |
|
| 6 | Q40006F31 | Washer | Нет в продаже |
|
| 7 | AZ1664290012 | Gas spring front bracket | Нет в продаже |
|
| 8 | AZ1664290019 | Air spring rear bracket | Нет в продаже |
|
| 9 | Q1840820F31 | Hexagonal flange bolts | Нет в продаже |
|
| 10 | Q150B0820F31 | Hexagonal bolt | Нет в продаже |
|
| 11 | Q40208F31 | Washer | Нет в продаже |
|
| 12 | Q40308F31 | Spring washer | Нет в продаже |
|
| 13 | AZ1664290038 | Hinge assembly | Нет в продаже |
|
| 13.01 | AZ1664290039 | Hinge swing arm assembly | Нет в продаже |
|
| 13.02 | AZ1661290009 | Riveting shaft | Нет в продаже |
|
| 13.03 | AZ1661290007 | Hinge seat assembly | Нет в продаже |
|
| 14 | AZ1664290032 | Left tool box cover assembly | Нет в продаже |
|
| 15 | AZ1664290033 | Right tool box cover assembly | Нет в продаже |
|
| 16 | AZ1630330010 | Plastic open tail rivets | Нет в продаже |
|
| 17 | Q1840816F31 | Hex flange face bolt 100 | Нет в продаже |
|
| 18 | WG1664290016 | Left lock body assembly | Нет в продаже |
|
| 19 | WG1664291016 | Right lock body assembly | Нет в продаже |
|
| AZ1664290013 | AZ1664290013 | Pressure plate | Нет в продаже |
|
| WG1664290010 | WG1664290010 | Lock assembly | Нет в продаже |
|
1
2
3
3
4
5
6
7
8
9
9
10
11
12
13
14
15
16
17
18
19
Содержащиеся в справочниках-каталогах запасные части и детали носят исключительно информационный характер