Назад

Оригинальные каталоги

zoom-in zoom-out enlarge shrink circle-right circle-left file-text2 info cart
Номер Наименование Цена
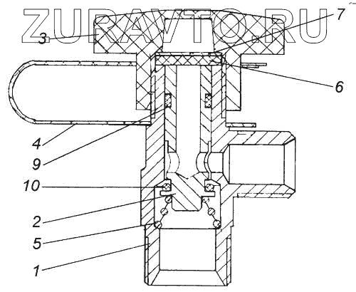
16-3515510 16-3515510 Кран экстренного растормаживания в сборе Нет в продаже
1 16-3515511 Корпус Нет в продаже
2 16-3515513 Толкатель Нет в продаже
3 16-3515520-01 Гайка-барашек Нет в продаже
4 16-3515521 Лента Нет в продаже
5 16-3514036 Пружина Нет в продаже
6 16-3929061 Прокладка Нет в продаже
7 16-00.001 Шайба Нет в продаже
8 16-00.002 Упор Нет в продаже
9 007-010-020-2-3 Кольцо Нет в продаже
10 007-012-025-2-3 Кольцо Нет в продаже
1
2
3
4
5
6
7
9
10
100%
Содержащиеся в справочниках-каталогах запасные части и детали носят исключительно информационный характер