Назад

Оригинальные каталоги

zoom-in zoom-out enlarge shrink circle-right circle-left file-text2 info cart
Номер Наименование Цена
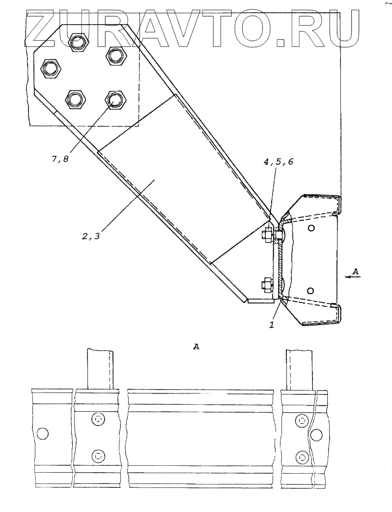
1 53212-2804010 Буфер задний Нет в продаже
2 53212-2804016 53212-2804016 - кронштейн заднего буфера 53212-2804016 Нет в продаже
3 53212-2804017 53212-2804017 - кронштейн 53212-2804017 Нет в продаже
4 853020 Болт М12х1,25-6gх30 Нет в продаже
5 1/61015/11 Гайка М12х1,25-6Н Нет в продаже
6 1/05170/77 Шайба 12 пружинная Нет в продаже
7 853050 Болт М20х1,5-6gх45 Нет в продаже
8 853528 Гайка М20х1,5-6Н Нет в продаже
1
2
3
4
5
6
7
8
100%
Содержащиеся в справочниках-каталогах запасные части и детали носят исключительно информационный характер