Назад

Оригинальные каталоги

zoom-in zoom-out enlarge shrink circle-right circle-left file-text2 info cart
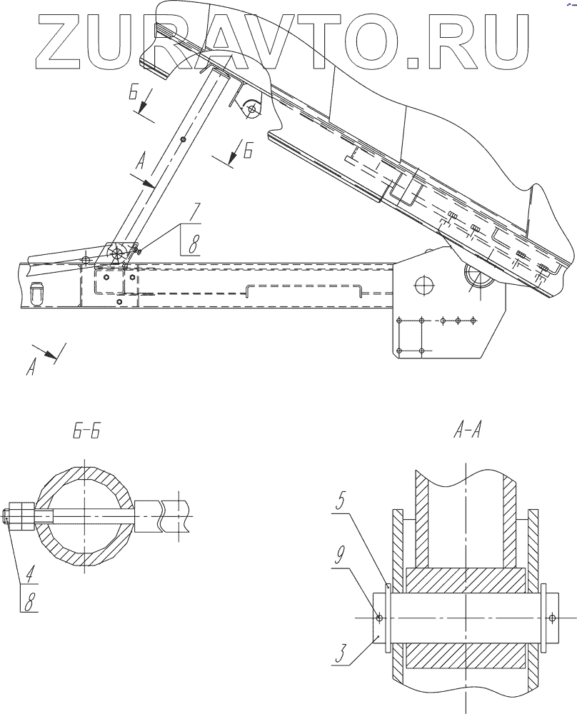
Номер Наименование Цена
1 65201-8510055СБ Страховочная штанга Нет в продаже
3 65201-8510052 Ось штанги Нет в продаже
4 65201-8510053 Шпилька Нет в продаже
5 ГВД 17.00.016Н Шайба Нет в продаже
7 1/55404/21 Болт М12х1,25-6gх30 Нет в продаже
8 1/61036/11 1/61036/11 - гайка 1 Нет в продаже
9 1/07350/01 Шплинт 4,7х50 Нет в продаже
3
4
5
7
8
8
9
100%
Содержащиеся в справочниках-каталогах запасные части и детали носят исключительно информационный характер