Назад

Оригинальные каталоги

zoom-in zoom-out enlarge shrink circle-right circle-left file-text2 info cart
Номер Наименование Цена
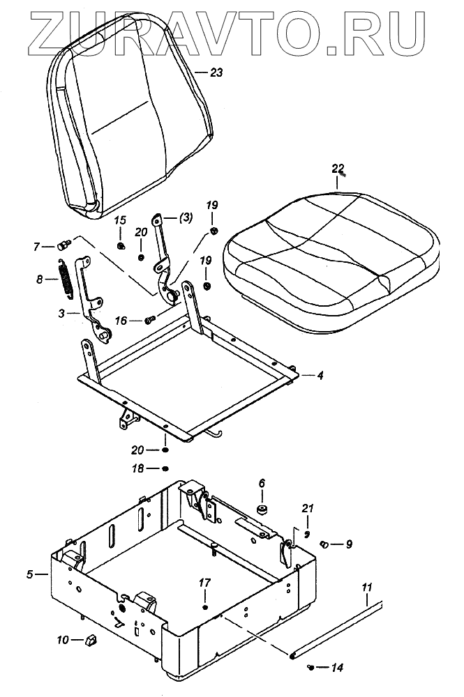
53205-6830010 53205-6830010 Сиденье пассажирское с ящиком Нет в продаже
532057-6830010 532057-6830010 Сиденье пассажирское с ящиком Нет в продаже
53205-6830010-01 53205-6830010-01 Сиденье пассажирское с ящиком Нет в продаже
3 5320-6815076 Кронштейн спинки пассажирского сиденья левый в сборе Нет в продаже
3 5320-6815077 Кронштейн спинки пассажирского сиденья правый в сборе Нет в продаже
4 541121-6817010 Подставка пассажирского сиденья Нет в продаже
5 541121-6837010 541121-6837010 - ящик инструм. 541121-6837010 Нет в продаже
6 5320-6103255-01 Буфер опускного стекла Нет в продаже
7 5320-6815137 Палец кронштейна спинки Нет в продаже
8 5320-6815139 Пружина кронштейна спинки Нет в продаже
9 541121-6837128 Ось Нет в продаже
10 5320-8109044 Ручка Нет в продаже
11 541121-6837070 Упор Нет в продаже
14 1/32760/01 1/32760/01 - винт 1 Нет в продаже
15 1/32792/11 Винт М6-6gх16 Нет в продаже
16 232694 Винт М10х1,25-6gх20 ОСТ 37.001.128-96 Нет в продаже
17 251644 Гайка М6-6Н ОСТ 37.001.197-75 Нет в продаже
18 1/61023/11 1/61023/11 - гайка 1 Нет в продаже
19 251646 Гайка М10х1,25-6Н ОСТ 37.001.197-75 Нет в продаже
20 1/05166/77 Шайба 8 пружинная Нет в продаже
21 1/10880/76 1/10880/76 - шайба 1 Нет в продаже
22 53205-6803010 Подушка сиденья водителя Нет в продаже
22 532057-6803010 Подушка сиденья водителя Нет в продаже
22 53205-6803010-01 Подушка сиденья водителя Нет в продаже
23 53205-6805010 Спинка сиденья водителя Нет в продаже
23 532057-6805010 Спинка сиденья водителя Нет в продаже
23 53205-6805010-01 Спинка сиденья водителя Нет в продаже
53205-6830010
532057-6830010
53205-6830010-01
3
3
4
5
6
7
8
9
10
11
14
15
16
17
18
19
19
20
20
21
22
22
22
23
23
23
100%
Содержащиеся в справочниках-каталогах запасные части и детали носят исключительно информационный характер