Оригинальные каталоги
| № | Номер | Наименование | Цена | |
|---|---|---|---|---|
| 65226-3500037-42 | 65226-3500037-42 | Установка кабелей АБС | Нет в продаже |
|
| 65226-3500037-23 | 65226-3500037-23 | Установка кабелей АБС | Нет в продаже |
|
| 65226-3500037-46 | 65226-3500037-46 | Установка кабелей АБС | Нет в продаже |
|
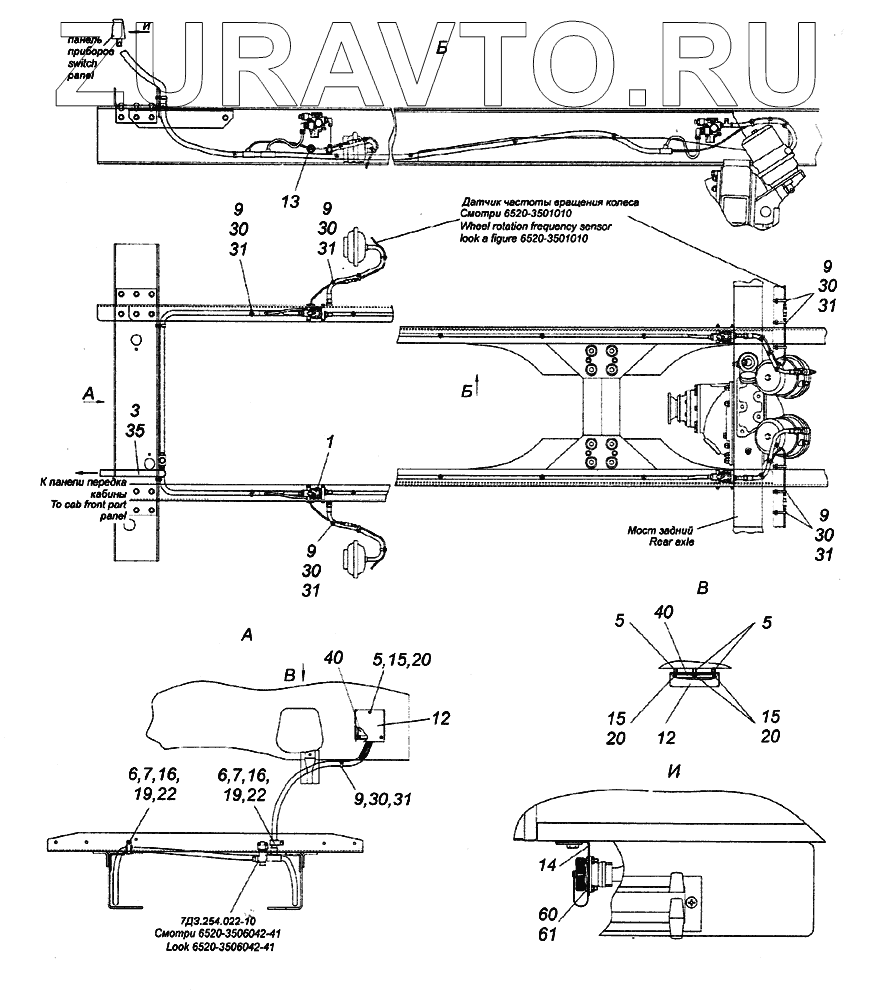
| 1 | 6460-3500042-42 | Установка модуляторов АБС тягач | Нет в продаже |
|
| 1 | 6460-3500042-23 | Установка модуляторов АБС тягач | Нет в продаже |
|
| 1 | 6460-3500042-46 | Установка модуляторов АБС тягач | Нет в продаже |
|
| 2 | 54115-3538010 | Кабель питания АБС прицепа | Нет в продаже |
|
| 3 | 65117-3538045-22 | Жгут кабелей датчиков и модуляторов АБС | Нет в продаже |
|
| 3 | 65117-3538045-41 | Жгут кабелей датчиков и модуляторов АБС | Нет в продаже |
|
| 5 | 5320-3570085 | Втулка | Нет в продаже |
|
| 6 | 5320-3506432 | 5320-3506432 - скоба 5320-3506432 | Нет в продаже |
|
| 7 | 53205-3506430 | 53205-3506430 - прокладка 53205-3506430 | Нет в продаже |
|
| 9 | 53205-3401228 | Хомут | Нет в продаже |
|
| 11 | 53205-3542019-41 | Кронштейн | Нет в продаже |
|
| 12 | 53205-3541119 | Кожух электронного блока АБС | Нет в продаже |
|
| 12 | 53205-3541119-22 | Кожух электронного блока АБС | Нет в продаже |
|
| 13 | 5320-3703301 | 5320-3703301 - втулка 5320-3703301 | Нет в продаже |
|
| 14 | 53205-3538019 | Кронштейн разъема диагностики АБС | Нет в продаже |
|
| 15 | 1/09026/21 | Болт М6-6gх25 | Нет в продаже |
|
| 16 | 1/60436/21 | 1/60436/21 - болт 1 | Нет в продаже |
|
| 17 | 1/60434/21 | Болт М8-6gх20 | Нет в продаже |
|
| 19 | 1/61008/11 | Гайка М8х1,25-6Н | Нет в продаже |
|
| 20 | 1/05164/77 | Шайба 6 пружинная | Нет в продаже |
|
| 22 | 1/05166/77 | Шайба 8 пружинная | Нет в продаже |
|
| 30 | 2108-3401228 | Хомут | Нет в продаже |
|
| 31 | 45 104 999 900 100 | Хомут TKUV 30/5 | Нет в продаже |
|
| 35 | 45 104 354 209 800 | Жгут кабелей датчиков и модуляторов АБС 1.3724.0098.0 | Нет в продаже |
|
| 40 | 45 104353806690 | Блок управления АБС 446 004 616 0 WABCO | Нет в продаже |
|
| 40 | 45 104354211290 | Блок управления АБС 0 486 107 007 KNORR-BREMSE | Нет в продаже |
|
| 40 | 45 104354100900 | Блок управления АБС АДЮИ 453633.016 НПРУП ЭКРАН | Нет в продаже |
|
| 45 | 8682-3538500 | Кабель спиральный | Нет в продаже |
|
| 46 | 45 104354223490 | Кабель спиральный 446.008.234.0 | Нет в продаже |
|
| 50 | 45 104354201100 | Вилка парковочная ВП48 | Нет в продаже |
|
| 60 | 45 104992501517 | Винт M3-6gx10 ГОСТ 17473-80 ОАО ВЗТДиН, г. Волгоград | Нет в продаже |
|
| 61 | 45 104993000527 | Гайка МЗ-6Н ГОСТ 5927-70 ОАО ВЗТДиН, г. Волгоград | Нет в продаже |
|
65226-3500037-42
65226-3500037-23
65226-3500037-46
1
1
1
3
3
5
5
5
6
6
7
7
9
9
9
9
9
9
12
12
12
13
14
15
15
15
16
16
19
19
20
20
20
22
22
30
30
30
30
30
30
31
31
31
31
31
31
35
40
40
40
40
60
61
Содержащиеся в справочниках-каталогах запасные части и детали носят исключительно информационный характер