Назад

Оригинальные каталоги

zoom-in zoom-out enlarge shrink circle-right circle-left file-text2 info cart
Номер Наименование Цена
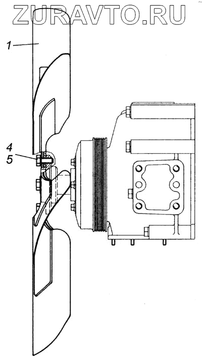
1 740.21-1308012 Крыльчатка вентилятора в сборе Нет в продаже
4 1/59707/21 Болт М10х1,25-6gх25 Нет в продаже
5 1/05168/73 1/05168/73 - шайба 1 Нет в продаже
1
4
5
100%
Содержащиеся в справочниках-каталогах запасные части и детали носят исключительно информационный характер