Оригинальные каталоги
| № | Номер | Наименование | Цена | |
|---|---|---|---|---|
| 7405-1308110 | 7405-1308110 | Ролик натяжной | Нет в продаже |
|
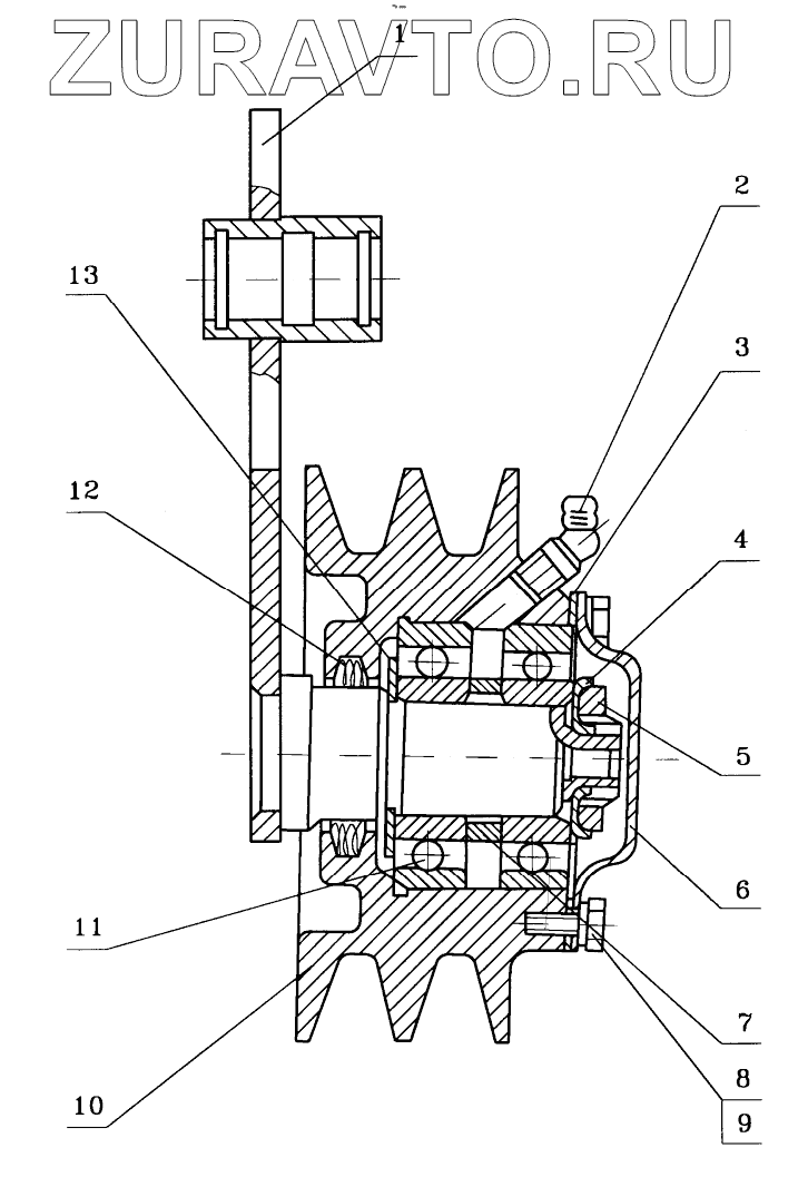
| 1 | 7405-1308241 | Рычаг | Нет в продаже |
|
| 2 | 2.3.45УХЛI | Масленка | Нет в продаже |
|
| 3 | 6401-1308164 | Прокладка | Нет в продаже |
|
| 4 | 6401-1308155 | Шайба замковая | Нет в продаже |
|
| 5 | 445811 | Гайка | Нет в продаже |
|
| 6 | 6401-1308162 | Крышка | Нет в продаже |
|
| 7 | 6401-1308150 | Кольцо | Нет в продаже |
|
| 8 | 201457 | Болт | Нет в продаже |
|
| 9 | 252135 | Шайба | Нет в продаже |
|
| 10 | 6401-1308112 | Ролик | Нет в продаже |
|
| 11 | 307 | Шарикоподшипник ГОСТ 520-71 | Нет в продаже |
|
| 12 | 6401-1308232 | Сальник | Нет в продаже |
|
| 13 | 6401-1308157 | Шайба | Нет в продаже |
|
1
2
3
4
5
6
7
8
9
10
11
12
13
Содержащиеся в справочниках-каталогах запасные части и детали носят исключительно информационный характер