Оригинальные каталоги
| № | Номер | Наименование | Цена | |
|---|---|---|---|---|
| 7505-3101010-11 | 7505-3101010-11 | Колесо с шиной в сборе | Нет в продаже |
|
| 7505-3101011-11 | 7505-3101011-11 | Колесо с шиной в сборе | Нет в продаже |
|
| 26,5-25 | 26,5-25 | Шина в сборе | Нет в продаже |
|
| 450-3101012 | 450-3101012 | Колесо в сборе | Нет в продаже |
|
| 1 | 26,5-25 | Шина в сборе | Нет в продаже |
|
| 2 | 26,5-25 | Шина в сборе | Нет в продаже |
|
| 3 | 26,5-25 | Шина в сборе | Нет в продаже |
|
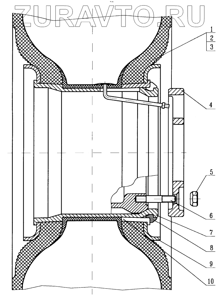
| 4 | 6908-3101050 | Прижим колеса | Нет в продаже |
|
| 5 | 250712 | Гайка | Нет в продаже |
|
| 6 | 546П-3103008 | Шпилька | Нет в продаже |
|
| 7 | 450-3101015 | Основание обода | Нет в продаже |
|
| 8 | 410-3101031 | Кольцо замочное | Нет в продаже |
|
| 9 | 22.00-3101027 | Кольцо бортовое | Нет в продаже |
|
| 10 | 434-3101035 | Кольцо посадочное | Нет в продаже |
|
450-3101012
1
2
3
4
5
6
7
8
9
10
Содержащиеся в справочниках-каталогах запасные части и детали носят исключительно информационный характер