Оригинальные каталоги
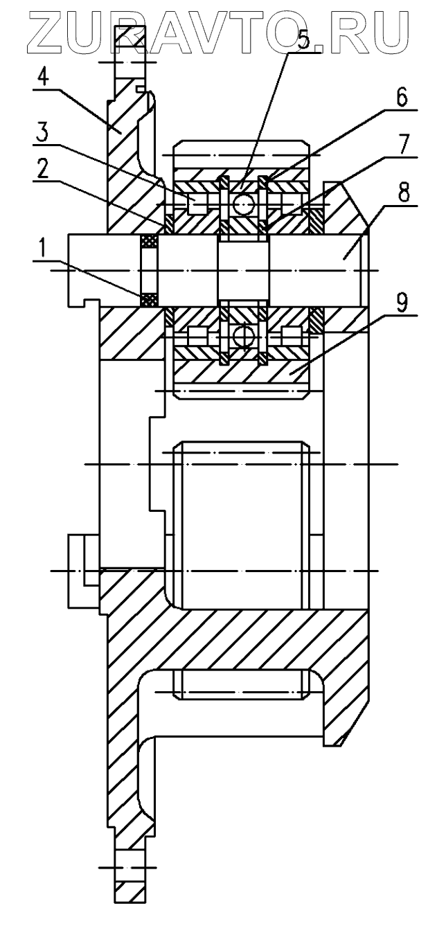
| № | Номер | Наименование | Цена | |
|---|---|---|---|---|
| 1 | У-50х45-2 | Кольцо ГОСТ 8829-73 | Нет в продаже |
|
| 2 | 546-2405025-Б1 | Шайба опорная | Нет в продаже |
|
| 3 | 102310 | Подшипник ГОСТ 8323-57 | Нет в продаже |
|
| 4 | 6908-2405020-10 | Водило | Нет в продаже |
|
| 5 | 310 | Подшипник | Нет в продаже |
|
| 6 | 546-2405037 | Кольцо | Нет в продаже |
|
| 7 | 546-2405036 | Кольцо | Нет в продаже |
|
| 8 | 6908-2405038 | Ось | Нет в продаже |
|
| 9 | 546-2405035 | Сателлит | Нет в продаже |
|
1
2
3
4
5
6
7
8
9
Содержащиеся в справочниках-каталогах запасные части и детали носят исключительно информационный характер