Оригинальные каталоги
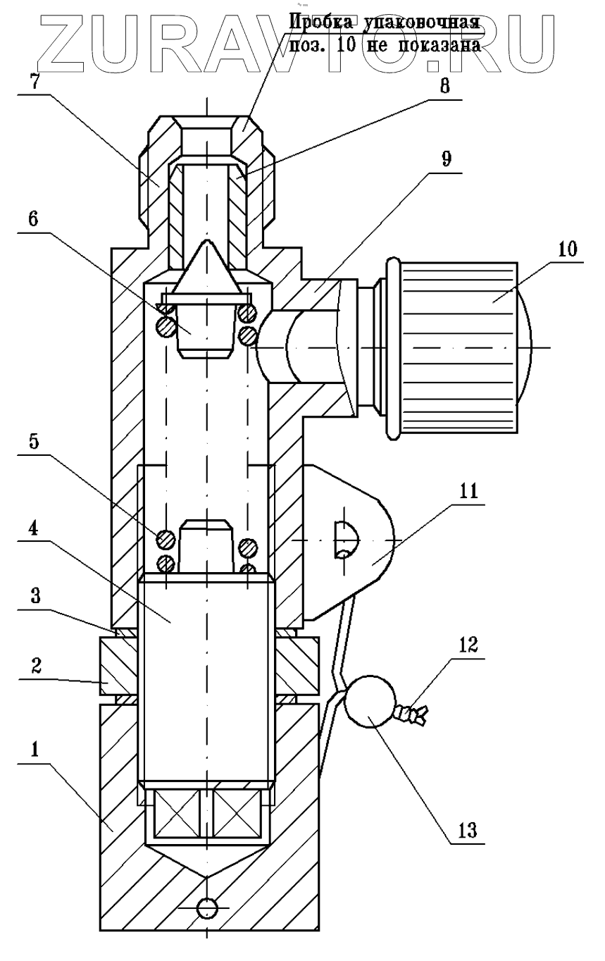
| № | Номер | Наименование | Цена | |
|---|---|---|---|---|
| 1 | 529Т-3416046 | Колпачок | Нет в продаже |
|
| 2 | 445826 | Гайка М27х1,5-6Н | Нет в продаже |
|
| 3 | 546-3416048 | Прокладка | Нет в продаже |
|
| 4 | 529-3416045 | Болт регулировочный | Нет в продаже |
|
| 5 | 529Е-3404025 | Пружина | Нет в продаже |
|
| 6 | Д357П-4610322 | Клапан предохранительный | Нет в продаже |
|
| 7 | 7505-3406018 | Корпус | Нет в продаже |
|
| 8 | 529-3404017 | Седло | Нет в продаже |
|
| 9 | 6908-3408061 | Штуцер | Нет в продаже |
|
| 10 | 546В-3408216 | Пробка упаковочная см.546В-3408228 | Нет в продаже |
|
| 11 | 546П-8406040-10 | Кронштейн | Нет в продаже |
|
| 12 | 258227 | Шплинт 0,8х225 ОСТ 37.001.172-75 | Нет в продаже |
|
| 13 | 4-12-АД1М | Пломба | Нет в продаже |
|
1
2
3
4
5
6
7
8
9
10
11
12
13
Содержащиеся в справочниках-каталогах запасные части и детали носят исключительно информационный характер