Оригинальные каталоги
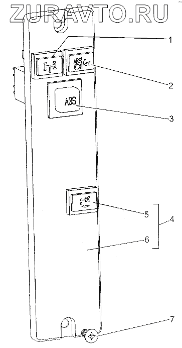
| № | Номер | Наименование | Цена | |
|---|---|---|---|---|
| 1 | 2212-3803010-15 | Лампа контрольная | Нет в продаже |
|
| 2 | 2212-3803010-53 | Лампа контрольная 2212.3803-53 | Нет в продаже |
|
| 3 | 0000-3710410 | Выключатель 3812.3710-02.53 | Нет в продаже |
|
| 4 | 700600-3800015-10 | Панель переключателей | Нет в продаже |
|
| 5 | 2212-3803010-46 | Лампа контрольная 2212.3803-46 | Нет в продаже |
|
| 6 | 692374-3805015 | Щиток переключателей | Нет в продаже |
|
| 7 | 233064-01 | Винт 2М6-6gx14 | Нет в продаже |
|
1
2
3
4
5
6
7
Содержащиеся в справочниках-каталогах запасные части и детали носят исключительно информационный характер