Оригинальные каталоги
| № | Номер | Наименование | Цена | |
|---|---|---|---|---|
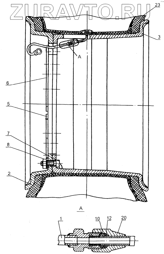
| 7909-3101032 | 7909-3101032 | Сектор опорный | Нет в продаже |
|
| 7930-3103003 | 7930-3103003 | Ступица с поворотным устройством левая | Нет в продаже |
|
| 7930-3103002 | 7930-3103002 | Ступица с поворотным устройством правая | Нет в продаже |
|
| 1 | 547А-3106037-10 | Трубка вентиля | Нет в продаже |
|
| 2 | 543-3101024-01 | Половина обода колеса наружная | Нет в продаже |
|
| 3 | 543-3101029-20 | Половина обода колеса внутренняя | Нет в продаже |
|
| 5 | 543-3101032 | Сектор опорный | Нет в продаже |
|
| 6 | 543-3101033 | Сектор опорный | Нет в продаже |
|
| 7 | 547А-3101037-01 | Болт крепления половины обода | Нет в продаже |
|
| 8 | 543-3101040 | Гайка крепления колеса | Нет в продаже |
|
| 10 | 535-3106034 | Муфта конусная резиновая | Нет в продаже |
|
| 12 | 535А-3106044 | Шайба муфты конусной | Нет в продаже |
|
| 20 | 379225 | Гайка накидная 2В8 | Нет в продаже |
|
| 23 | 0000-3106712 | Шина пневматическая 1500х600х635 | Нет в продаже |
|
1
2
3
5
6
7
8
10
12
20
23
Содержащиеся в справочниках-каталогах запасные части и детали носят исключительно информационный характер