Оригинальные каталоги
| № | Номер | Наименование | Цена | |
|---|---|---|---|---|
| 0000-3803417 | 0000-3803417 | Диод св\изл. АЛ307Б | Нет в продаже |
|
| 2212-3803010-31 | 2212-3803010-31 | Лампа контрольная 2212.3803-31 | Нет в продаже |
|
| 2212-3803010-31 | 2212-3803010-31 | Лампа контрольная 2212.3803-31 | Нет в продаже |
|
| 2212-3803010-46 | 2212-3803010-46 | Лампа контрольная 2212.3803-46 | Нет в продаже |
|
| 0000-3709599 | 0000-3709599 | Переключатель П147.08.17 | Нет в продаже |
|
| 0000-3747650 | 0000-3747650 | Резистор ОМЛТ0.5-2к8Н-В | Нет в продаже |
|
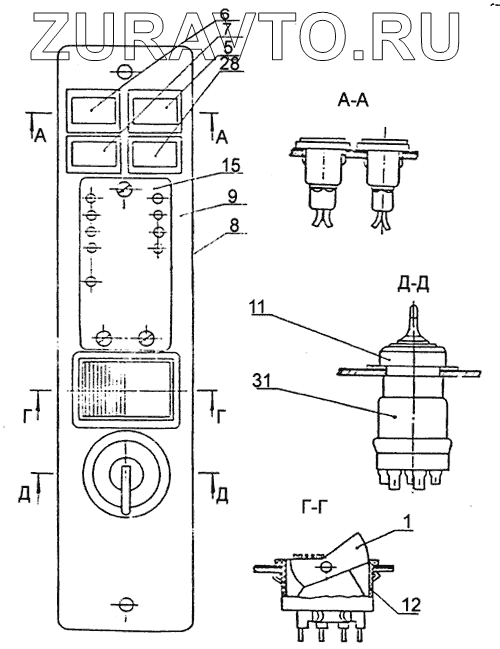
| 1 | 7413-3709061 | Переключатель | Нет в продаже |
|
| 5 | 7413-3803050 | Лампа контрольная | Нет в продаже |
|
| 6 | 7413-3803051 | Лампа контрольная | Нет в продаже |
|
| 7 | 7930-3803065 | Лампа контрольная | Нет в продаже |
|
| 8 | 79092-3803090 | Плата диодов | Нет в продаже |
|
| 9 | 79092-3805012 | Панель контрольных ламп | Нет в продаже |
|
| 11 | 5336-3708096 | Гайка переключателей | Нет в продаже |
|
| 12 | 5336-3710015 | Рамка переключателя | Нет в продаже |
|
| 28 | 2212-3803010-06 | Лампа контрольная 2212.3803-06 | Нет в продаже |
|
| 31 | ВК354-3704000-0 | Выключатель ПЖД ВК354-0 | Нет в продаже |
|
1
5
6
7
8
9
11
12
28
31
Содержащиеся в справочниках-каталогах запасные части и детали носят исключительно информационный характер